Basic configuration of CAN (Controller Area Network)
The CAN communication line consists of two communication lines (CAN – H and CAN – L) twisted in pairs.
It is necessary to have a resistance value of 60 Ω between CAN – H / L, and in general, a 120 Ω resistor is connected to both ends of the communication line.
The section between the terminating resistors is called the back bone, and the section branching from this section is called the branch (Stub).
The ECU is connected to the Stub or to the end of the Back Bone in the case of an ECU with a built-in terminating resistor

Related Contents:
2024.02 HINO Diagnostic Explorer DX3/DX2 Diagnostic Software Free Download
HINO Trucks EPC Electronic Parts Catalog 2018 2016 Free Download
CAN communication method
Since CAN is digital communication, it carries information at 0 and 1, but 0 and 1 are represented by the voltage difference between CAN – H / L lines.
•1(Recessive State)
“CAN – H / L is normally held at a potential of 2.5 V. In case
There is no potential difference between H / L lines by this.”
•0(Dominant State)
The CAN – H line is boosted to around 3.5 V, and conversely, the CAN – L line is stepped down to around 1.5 V.
This creates a potential difference between the H / L lines.

At the time of reception, the controller connected to the CAN line detects the voltage difference between the H / L lines, judges 0 and 1,When transmitting, generate voltage difference between H / L lines and express 0, 1,.
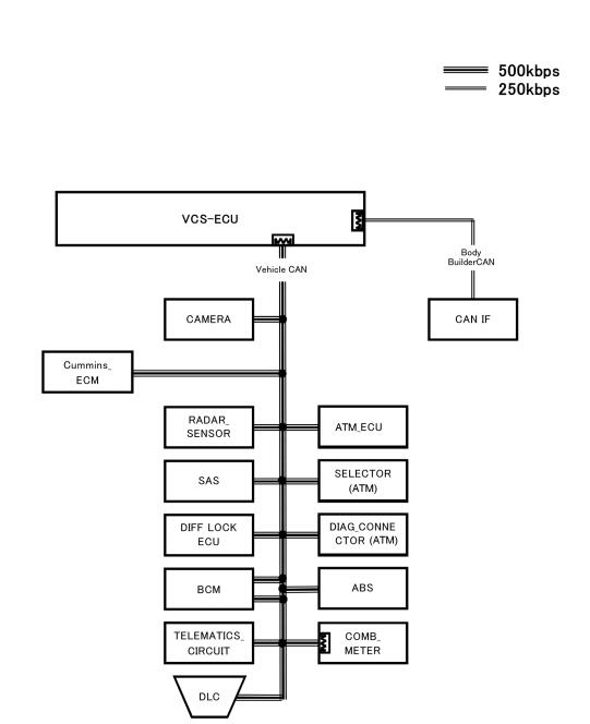
CAN configuration
The CAN configuration is as follows
Configuration of CAN
The CAN configuration is as follows
The contents of ENGINE – DIAG and VEHICLE CAN are transferred to Body Builder CAN by VCU.
Also, engine control requests from Body Builders CAN are transferred to VEHICLE-CAN and engine control is implemented.

Mounting Position of the Body builder CAN Connector
Access to the Body builder CAN line is possible from the connector in the instrument panel rack.

Body builder CAN Connector Type
Part No. S8281-EM050
DELPHI-Part No.: 54200200

Requirements for the Body builder CAN Wiring
In order to secure the CAN communication, please follow the SAE standard (J1939-15: Physical Layer) when wiring the Body builder CAN.
The termination resistor
The Body builder CAN line must be connected by using a 120 Ohm termination resistor at each end.
Because one is built in the VCU, please connect another one, or connect an ECU with builtin terminating resistor.
Wiring length
In order to minimize the influence of noise, please keep the wiring at the minimum length.
• Wire length from terminating the Body builder CAN connector to terminating resistor / terminating resistor built-in ECU please keep the length within 30 m (98.4252ft) –
• When branching off from the Body builder CAN line and connecting the ECU, please keep
the line length within 3 m (9.84252ft).-
• When connecting multiple branch lines to the Body builder CAN line, please leave a space of 0.1 m (0.328084ft) or more. –
• The number of control units in the external CAN network should not exceed 9.

Body builder CAN Communication Specification
The signals that can be obtained from the Body builder CAN are as follows.
Please refer to the SAE standard (J1939-71 Vehicle Application Layer) for details of the signal.
Note:
• The baud rate of the Body builder CAN is 250 k.
• Since communication contents are not guaranteed in the following states, please avoid communication on the Body builder CAN.
• When the key switch position is other than ON.
• At the start of the engine (when the starter motor is operated)

Engine Control from Body builder CAN
Similar to the old Power Take Off (P.T.O.) accelerator signal, you can control the engine from the Body builder CAN.
Note:
• If you need to customize the RPM control,please consult with HMS (USA) or Hino authorized dealer for any appropriate advice.
• When the engine control request from vehicle driveline component such as ASR or
CMS(Collision Mitigation system) and CAN massage from body equipment are overlapped,the request from vehicle driveline component may be given priority over the massage from body equipment. In that case, take measures to suspend the request from vehicle side only the condition above mentioned for controlling Engine properly from body equipment.
• Since communication contents are not guaranteed in the following states, please avoid communication on the Body builder CAN.
When the key switch position is other than ON.
At the start of the engine (when the starter motor is operating)
• When carrying out engine control from the Body builder CAN, please send it to the Body builder CAN in the following form.
More case for HINO please refer to:HINO Trouble Repair