This instruction show you guide on how to assembly and disassembly carrier roller for Kubota U48-4 U55-4 excavator.
Related Contents:
Takeuchi Excavator Workshop EPC+Service Manual 2018 PDF Files
2022 Kubota Takeuchi Diagmaster v22.08.01 v4.1.2 Software Free Download
Kubota EPC Spare Parts Catalogue 2021.06 Download
Procedures:
CAUTION
The pressure in the grease cylinder is high so if loosened quickly, the nipple may pop off and the highly pressurized grease in the cylinder may fly out so do not get your face near the nipple nor place your body in front of the nipple and loosen the nipple gradually.
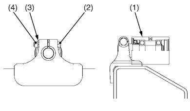
Removing the grease nipple
1.Remove one bolt (2) and then the cover (1).

2.Place a wrench (socket) at the base of the grease nipple and loosen slowly.
If there is a rock etc. caught in the sprocket, remove the rock first.
(1) Cover
(2) Bolt (M10)
(3) Grease nipple

Loosen track
1.Jack up the body using the front end and blade, expel grease from inside the grease cylinder, and fully loosen up the track.
When the track is loose, attach the grease nipple and place a block under the track frame.

Removing the carrier roller
1.Insert a block (2) into the gap between the carrier roller and the track.

2.Loosen the nut (3) and remove the carrier roller (1).
Carrier weight : approximately 4 kg (9 lbs)
(1) Carrier roller
(2) Block
(3) Nut

Mounting the carrier roller
Please perform the procedure in reverse for assembly.

(2) Carrier roller structural components

More repair case for Kubota,please refer to:Kubota Trouble Repair